20多个小时的线上厮杀,此刻终于落下帷幕。
25人报名、1936人设置提醒、53294 次围观、112次出价。
刚刚,翡翠海岸公寓(新盘推广名:滨江保利翡翠海岸)7 幢 2 单元 1402 室及 B1-85、B2-1080 车位,以1956万成交。
除去价值116万的双车位,这套房折合单价9.34万元/㎡,比翡翠海岸近月挂牌价9.1万元/㎡ 还要高。总价也比评估价(1701万元)足足高出255元元。

不少人抱着捡漏的心来,却在众多竞拍者中「杀红了眼」。
不同于法拍常客武林壹号,这是滨江保利翡翠海岸首套法拍房。可以说是「一战成名」,仅凭借一套房源就超越武林壹号,就成为法拍界的顶流。
拍卖结束前,我们特意采访了来拍首席知识官刘毅,他表示直到听闻预约看样人数过百,才真实感受到这套房源的高热度。
5月13日下午来拍法服组织线下看样,后台显示预约人数达到128组,实际到场签到53组,这是近几年法拍房中看样人数最多的一套。
且前来看样的人,大多拖家带口,购买意向明显。由于看样人数过多,这场看样活动足足持续了一个半小时,而看房者真正在屋内参观的时间不过10分钟而已。
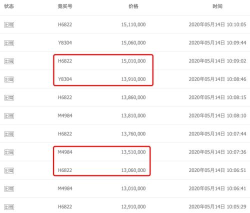
昨天上午10点房源正式开拍,一上来竞争就十分激烈。

按照法拍规则,每轮加价幅度为5万或5万的倍数。从竞买记录可以看到,开拍仅6分多钟,M4984号竞买人直接加价45万,开拍不到10分钟,H6822号竞买人直接加价110万!
滨江保利翡翠海岸的爆红其实不难理解。从新盘时期,其热度就不低。尽管总价都是千万级别,但次次都需摇号,中签率最低的一次仅26.7%。
项目所处的南星桥板块,地段稀缺,豪宅遍地,但新盘却是可遇不可求。3月底仁恒滨江园正式清盘,南星桥就进入全面断供状态,属于有钱也难买。
翡翠海岸这套法拍房,恰似一道曙光,给了富人们一张全新的门票,而且还不限购。
且与新房市场追求相对公平的原则不同,法拍市场践行的是「价高者得」,或许这才是富豪们钟爱的买房方式,摇号买房实在是太憋屈了。
翡翠海岸去年年底交付,距今不过4个月的时间。这套法拍房还保留着交付时的模样,就连物业准备的彩带、绒花等交付装饰也都未拆,与新房几乎没差别。

翡翠海岸公寓 7 幢 2 单元 1402 室室内实景图
另一吸引点,则是车位。这套房源自带两个车位,对于豪宅项目来说,两个车位几乎是标配。
一般豪宅车位的销售节奏与房源几乎保持一致,车位十分抢手,即便你想多买几个,也很很难有机会。
扫码加我,一起聊聊买房那些事
这套法拍房是2018年原房主通过摇号购买。当时包括车位共花费约1460万元,按揭付款,其中车位每个约58万元。
按照今日成交价,不到半年时间涨幅近34%!如果刨去车位,单纯计算这套房子的涨幅,实际还要更高。
再算上税费以及二次过户的费用,竞买人实际购买成本还要更高,但都抵不过这套房源的稀缺性。
就像运河边只有仅有76套的江南里,西湖边的徐青甫故居,购买者对待它们犹如藏品。如果不是法拍,很难有机会再买到。
前天,同样是千万级别的武林壹号与官河锦庭(排屋)两套房源也拍卖成交。今天这套是5月第三套千万级豪宅,无一流拍。
武林壹号成交总价2960万,折合单价8.89万元/㎡,总报名人数达到17人,是武林壹号众多法拍房中参拍人数最多的一套。
官河锦庭是排屋,建筑面积296.74㎡,成交总价将近2000万。紧邻滨康综合体与地铁,具备了一般低密产品没有的城市资源,因此一拍就直接成交。
可以说自疫情得到控制后,杭州新房、二手房、法拍房市场的热度都在逐渐提升。
而法拍房的特殊点在于不限购,因此购房群体更广,不仅仅是局限在杭州,遇到好的房源,竞争力反而更激烈。
就拿今天拍卖的翡翠海岸来说,1套房源25人报名,如果摇号的话,中签率才4%,跟万人摇红盘一样难买。
【购房资讯轻松享,快来关注乐居网】
文章来源:杭州楼市动态
优质内容推荐
合肥中梁地产10天被曝2起事故死亡2人,全市项目被责令停工 又变脸?呼和浩特大风、降温、降水天气要来了 今天,这里100%拆除!预排26栋高层住宅标签: 翡翠挂牌价格是多少
评论列表
当优雅的翡翠与耀眼的钻石搭配时,会碰撞出怎么样的火花呢?
人体佩戴的首饰有吊坠、手镯、耳饰等,与翡翠搭配的一般都是K金。